I've been really digging the PlayStation 5 and its V-shaped design in its development kit form, secretly (well, probably not-so-secretly as I've said it here publicly working for TweakTown for years now) hoping the final PS5 has the V-shaped design.
Well, now we have a new patent for the PlayStation 5 development kit that has been uploaded to the World Intellectual Property Organization (WIPO). The new patent shows us some more details on how the PlayStation 5 is being cooled, where that gorgeous V-shaped design is coming into play with Sony.
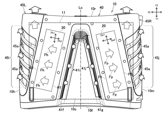
The new patent for the PlayStation 5 sees the next-gen console having two "wings" -- with 3 fans used to cool the APU, and 3 others to cool the PSU. Sony is using a vapor chamber, with Sony reportedly using an "advanced liquid cooling system" to keep the PlayStation 5 nice and cool.
We heard back in February 2020 that Sony opted to "lavish more" on the cooling system of the PlayStation 5 so that "heat dissipation from the powerful chips housed inside the console isn't an issue".
At the time, Bloomberg also reported: "Most of the components for the console have been locked down, the people said, including the cooling system, which is unusually expensive at a few dollars per unit". The report added: "typically, companies would spend less than a dollar".


There is some more detail on the cooling system for the PlayStation 5 from the patent, which reads: "As shown in FIG. 6, the electronic device 10 has a heat sink 30. The heat sink 30 is connected to the integrated circuit 11a (see FIG. 6) which is a heat source mounted on the circuit board 11 and receives heat from the integrated circuit 11a. The electronic device 10 has a plurality of cooling fans 15, and the heat sink 30 is cooled by receiving the air flow formed by the cooling fans 15. The heat sink 30 is one of the cooling target components described in the claims".
The patent continues: "The bottom 31 is a vapor chamber. That is, the bottom portion 31 is, for example, a metal plate having a space in which a liquid that easily vaporizes is enclosed. The bottom portion 31 may be a metal plate (metal block) having no such space. The fins 32 are welded to the bottom portion 31 and are arranged in the direction along the circuit board 11".



