Sony has filed a patent for AI 'ghosts'that can be trained to learn how to beat levels and complete missions, all based on recorded player footage.

Sony has outlined a potential use case for systems-level artificial intelligence, perhaps on the next-gen PlayStation 6. We already know that Sony is working closely with AMD to make major advancements in the field of chip-level AI features, including the advanced PlayStation Spectral Super Resolution upscaling technology. However, these patents could give us an idea of what to expect from something like the PS6 on an end-user basis.
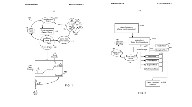
The AI ghost patent doesn't just outline one scenario, but a variety of them, all with the same basis: What if players could summon on-screen 'ghost' to help them when they get stuck in a game? Sony's patent explains how this would work, with the patent depending on an 'AI assistance engine' that would be 'trained' based on player footage. Microsoft is doing something similar to train its MUSE AI generator tech.
- Read more: NVIDIA unveils how AI characters are now teammates and enemies in games
- Read more: Microsoft used an Xbox game to train its new generative AI tools
- Read more: Sony lays out AI gaming use case, wants to use AI for content discovery, player customization
We've included some relevant excerpts below, complete with pictures, but also remember that this is a patent and it doesn't necessarily mean that this technology will show up in a final product.

Although video game technology has seen many advances, some players find themselves in need of assistance. Games become very complicated, so players who are not experts oftentimes quit playing or find it hard to complete tasks. Players are able to do research for the game or even look up prior gameplays on internet sites, but that process is time consuming and many times not very relevant to tasks and/or scenarios currently being encountered by the player.
To assist with this problem, some solutions have included the use of a character that a user can follow. However, the character is usually a graphic image or outlined image of a prior player that played the game and the user must follow the character watching the moves that occurred (including moves and interaction that is not relevant to the user's current gameplay scenarios).
This is not, however, very useful for real-time assistance to a player that is encountering some difficulty with a specific scenario of gameplay or along the player's specific gameplay path. This is because the character does not know specifically what the player is playing or the context of the user's gameplay.
Further, the character is typically only performing actions of one prior player. Further yet, the character is only presented for general game scenarios that relate to the game, not in relation to the context of the player' s current gameplay.

[0006] Implementations of the present disclosure include methods, systems, and devices for providing ghost assistance to a player during gameplay of the game session, whereby the game assistance is intelligently provided by a ghost character based on control input learned by an artificial intelligence (AI) model of the gameplay, trained from a plurality of training footage sources and a mode setting selected therefore.
Broadly speaking, an AI model is trained using training footage of gameplay of the game to identify game scenarios and learn to interactivity necessary to progress in the game from the training footage. During live gameplay by a player, game state data is analyzed in order to identify a scenario occurring in the context of the gameplay of the player.
The scenario occurring during the live gameplay can then be processed by the AI model and an assistance AI engine in order to provide a ghost character with control inputs for animation/control to guiding the player in relevant interactivity of the game. The relevant interactivity is for the context of the gameplay of the player, not just some prior gameplay of another player.
The ghost character can therefore be controlled by the assistance AI engine during gameplay and provide the player with visual illustrations of how certain game scenarios are played in order for the character controlled by the player to be able to achieve progress in the game.




