NVIDIA utterly dominates with its DLSS technology, but AMD is coming out with its own DLSS competitor soon in the form of the recently-teased FidelityFX Super Resolution (FSR) technology.

But now we have some more information, as a new patent has surfaced that teases "Gaming Super Resolution" or GSR. We might still see FidelityFX Super Resolution (FSR) in the future as a different technology to GSR, but I guess we'll see AMD clear that up over the coming months.
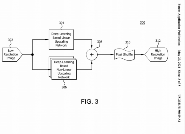
The patent itself has AMD's upcoming Gaming Super Resolution technology using interference to upscale images, as AMD explains the only available approach uses linear upscaling functions which will could see blurry and/or corrupt images because it doesn't use nonlinear information.
AMD engineers add that conventional neural networkers are generalizable and are trained to operate without significant knowledge of the immediate problem, adding that the deep learning result (dig dig, DLSS) doesn't take into consideration the aspects of the original image and could result in lost color, or detail in the final result.

AMD's new Radeon-powered solution is impressive in many ways, the first of which -- and most important -- is that GSR or whatever-the-hell AMD's new DLSS competitor arrives as won't just be exclusive to GPUs. NVIDIA's magic DLSS technology is great but works only on GeForce GPUs.
GSR would work on AMD Radeon GPUs, AMD Ryzen CPUs, and semi-custom AMD-powered next-gen consoles in both the Microsoft Xbox Series X/S and Sony PlayStation 5 consoles.
On top of that, AMD uses linear and non-linear upscaling technology which preserves, and improves the quality of the image. AMD says GSR will "create high-quality image approximations and achieve high framerates".
The patent continues: "A super resolution processing method is provided which improves processing performance. The method includes receiving an input image having a first resolution, generating linear down-sampled versions of the input image by down-sampling the input image via a linear upscaling network and generating non-linear down-sampled versions of the input image by down-sampling the input image via a non-linear upscaling network. The method also includes converting the down-sampled versions of the input image into pixels of an output image having a second resolution higher than the first resolution and providing the output image for display".




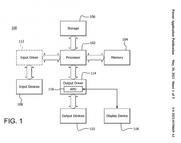
The patent reads: "The device 100 can include, for example, a computer, a gaming device, a handheld device, a set-top box, a television, a mobile phone, or a tablet computer. The device 100 includes a processor 102, a memory 104, storage 106, one or more input devices 108, and one or more output devices 110. The device 100 can also optionally include an input driver 112 and an output driver 114. It is understood that the device 100 can include additional components not shown in FIG. 1".
"In various alternatives, the processor 102 includes one or more processors, such as a central processing unit (CPU), a graphics processing unit (GPU), or another type of compute accelerator, a CPU and GPU located on the same die, or one or more processor cores, wherein each processor core can be a CPU or a GPU or another type of accelerator. Multiple processors are, for example, included on a single board or multiple boards".



